車花特點:
車削外徑車花刀可以調整切削角度,可以保護機床的精度,對于小型機床剛性要求低。
適用機床類型:數控車床,自動車床,多軸車床,瑞士型自動車床,車銑復合機床。
雙輪車花刀:
可加工網紋,刀具可根據加工工件直徑的大小對滾輪的切削角度進行調整,同時具有中心高調節功能,可以確保雙輪同時接觸工件,避免亂花現象。
加工花紋類型:
|
車花類型 |
車花輪 | 進給方式 | |
|
RGE30° | AA+AA | F← |
|
|
RGE45° | BL15°+BR15° | F← |
|
RGE60° | BL30°+BR30° | F← |
采用進口車花輪:
| AA | BL15° | BR15° | BL30° | BR30° |
![]() |
![]() |
![]() |
![]() |
![]() |
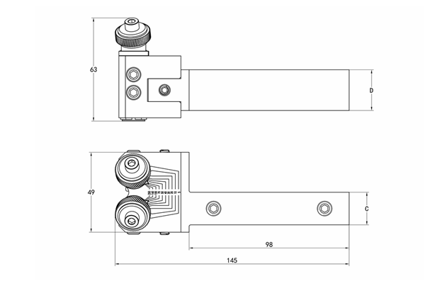
產品數據:
CH2145尺寸圖
CH2215尺寸圖
| 工具型號 | 安裝方向 | 加工范圍 | 車花輪尺寸 | 刀桿尺寸 |
備件 |
||
| C | D | ||||||
| CH2145R14 | R 正 | Φ3-50 | Φ14.5×3×5 | 14 | 16 | EAT14.53 |
|
| CH2145L14 | L 反 | ||||||
| CH2145R16 | R 正 | 16 | |||||
| CH2145L16 | L 反 | ||||||
| CH2215R20 |
R+L 正反可調 |
Φ5-250 | Φ21.5×5×8 | 20 | 25 | EAT21.55 | |
| CH2215R25 | 25 | ||||||
車花系列刀具使用方法:
1,將刀具裝入刀座,調整刀具中心高確保在工件中心位置。
2,將車花輪靠近工件外徑,調整兩個輪子全寬軸線完全同時貼住工件。
3,開始車花時,以快速進入1/2的牙距深度,寬度約為輪子寬的1/3。
4,當花目成型完成后,才開始Z軸向的進給。
5,如果牙型有牙型有錯誤,可以通過調整刀座軸向修正。
6,使用較大的切削液或潤滑油排去車下來的鐵屑。









